ГОСТ 13579-78
Группа Ж33
ГОСУДАРСТВЕННЫЙ СТАНДАРТ СОЮЗА ССР
БЛОКИ БЕТОННЫЕ ДЛЯ СТЕН ПОДВАЛОВ
Технические условия
Concrete blocks for walls of basements.
Specifications
-
-
-
ОКП 58 3500
-
Дата введения 1979-01-01
ИНФОРМАЦИОННЫЕ ДАННЫЕ
1. РАЗРАБОТАН
Центральным научно-исследовательским и проектным институтом типового и экспериментального проектирования жилища (ЦНИИЭП жилища) Госгражданстроя
Всесоюзным научно-исследовательским институтом заводской технологии сборных железобетонных конструкций и изделий (ВНИИжелезобетон) Министерства промышленности строительных материалов СССР
ВНЕСЕН Государственным комитетом по гражданскому строительству и архитектуре при Госстрое СССР
2. УТВЕРЖДЕН И ВВЕДЕН В ДЕЙСТВИЕ Постановлением Государственного комитета Совета Министров СССР по делам строительства от 30.12.77 N 234
3. ВЗАМЕН ГОСТ 13579-68
4. ССЫЛОЧНЫЕ НОРМАТИВНО-ТЕХНИЧЕСКИЕ ДОКУМЕНТЫ
|
|
|
|
|
|
|
-
-
5. ПЕРЕИЗДАНИЕ (июль 1994 г.) с Изменением N 1, утвержденным в ноябре 1985 г. (ИУС 3-86)
Настоящий стандарт распространяется на блоки, изготовляемые из тяжелого бетона, а также керамзитобетона и плотного силикатного бетона средней плотности (в высушенном до постоянной массы состоянии) не менее 1800 кг/куб.м и предназначаемые для стен подвалов и технических подпольев зданий.
Сплошные блоки допускается применять для фундаментов.
(Измененная редакция, Изм. N 1).
1. ТИПЫ И КОНСТРУКЦИЯ БЛОКОВ
1.1. Блоки подразделяются на три типа:
ФБС - сплошные;
ФБВ - сплошные с вырезом для укладки перемычек и пропуска коммуникаций под потолками подвалов и технических подпольев;
ФБП - пустотные (с открытыми вниз пустотами).
1.2. Форма и размеры блоков должны соответствовать указанным на черт.1-3 и в табл.1.
Таблица 1
|
|
|
|
|
|
|
|
|
|
|
|
|
|
|
|
|
|
|
|
|
|
|
||
|
|
|
|
|
|
|
|
|
|
|
|
-
-
1.3. Структура условного обозначения (марок) блоков следующая:
-
-
Х Х. Х. Х-Х Х
-
- - - - - -
-
| | | | | |
-
| | | | | |
-
+---+---+------+-+--+---- Тип блока (п. 1.1)
-
| | | | |
-
| | | | | Размеры блока в дециметрах:
-
+---+------+-+--+---- длина (округленно)
-
| | | |
-
+------+-+--+---- ширина
-
| | |
-
+-+--+---- высота (округленно)
-
| |
-
| | Вид бетона: тяжелый - Т; на пористых
-
+--+---- заполнителях (керамзитoбетон) - П;
-
| плотный силикатный - С
-
|
-
+---- Обозначение настоящего стандарта
-
Пример условного обозначения блока типа ФБС, длиной 2380 мм, шириной 400 мм и высотой 580 мм, из тяжелого бетона:
ФБС 24.4.6 -Т ГОСТ 13579-78
То же, типа ФБВ, длиной 880 мм, шириной 400 мм и высотой 580 мм, из бетона на пористых заполнителях (керамзитобетона):
ФБВ 9.4.6 -П ГОСТ 13579-78
То же, типа ФБП, длиной 2380 мм, шириной 500 мм и высотой 580 мм, из плотного силикатного бетона:
ФБП 24.5.6 -С ГОСТ 13579-78
Примечание. Допускается изготовление и применение блоков, длиной 780 мм (доборных), принятых в утвержденных до 01.01.78 типовых проектах зданий, на время действия этих проектов.
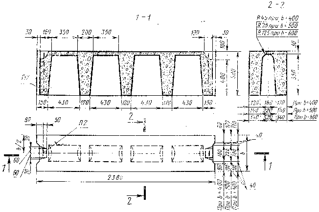
Блоки типа ФБС
А. Блоки шириной 300 мм
Б. Блоки шириной 400, 500 и 600 мм

Черт.1
Блоки типа ФБВ

Черт.2
Блоки типа ФБП

Черт.3
1.4. Марки и характеристики блоков из тяжелого бетона приведены в табл.2, из керамзитобетона - в табл.3, из плотного силикатного бетона - в табл.4.
При соответствующем обосновании допускается применение блоков из бетонов с классами по прочности на сжатие, отличающимися от указанных в табл.2-4. При этом во всех случаях класс бетона по прочности на сжатие должен приниматься не более Б15 и не менее:
В3,5 - для блоков из тяжелого бетона и керамзитобетона;
В12,5 " " " плотного силикатного бетона.
Примечание. В условное обозначение блоков из бетонов с классами по прочности на сжатие, отличающимися от указанных в табл.2-4, должен вводиться соответствующий цифровой индекс перед буквой, характеризующей вид бетона.
Таблица 2
|
|
|
|
|
|
|
|
|
|
|
|
|
||
|
|
|
|
|
|
|
|
|
|
|
|
||
|
|
|
|
|
||
|
|
|
|
|
||
|
|
|
|
|
|
|
|
|
|
|
|
||
|
|
|
|
|
||
|
|
|
|
|
||
|
|
|
|
|
|
|
-
-
Примечание. Масса блоков приведена для тяжелого бетона средней плотности 2400 кг/куб.м.
Таблица 3
|
|
|
|
|
|
|
|
|
|
|
|
|
||
|
|
|
|
|
|
|
|
|
|
|
|
||
|
|
|
|
|
|
|
|
|
|
|
|
||
|
|
|
|
|
||
|
|
|
|
|
||
|
|
|
|
|
||
|
|
|
|
|
|
|
-
Примечание. Масса блоков, а также марка монтажных петель приведены для блоков из керамзитобетона средней плотности 1800 кг/куб.м.
Таблица 4
|
|
|
|
|
|
|
|
|
|
|
|
|
||
|
|
|
|
|
|
|
|
|
|
|
|
||
|
|
|
|
|
|
|
|
|
|
|
|
||
|
|
|
|
|
||
|
|
|
|
|
||
|
|
|
|
|
|
|
|
|
|
|
|
||
-
-
Примечание. Масса блоков, а также монтажных петель приведена для блоков из плотного силикатного бетона средней плотности 2000 кг/куб.м.
1.5. Расположение монтажных петель в блоках должно соответствовать указанному на черт.1-3. Конструкции монтажных петель приведены в приложении.
Допускается устанавливать монтажные петли в блоках типа ФБС длиной 1180 и 2380 мм на расстоянии 300 мм от торцов блока и заподлицо с его верхней плоскостью.
При применении для подъема и монтажа блоков специальных захватных устройств допускается, по согласованию изготовителя с потребителем и проектной организацией, изготовление блоков без монтажных петель.
1.4, 1.5. (Измененная редакция, Изм. N 1).
2. ТЕХНИЧЕСКИЕ ТРЕБОВАНИЯ
2.1. Материалы, применяемые для приготовления бетона, должны обеспечивать выполнение технических требований, установленных настоящим стандартом, и соответствовать действующим стандартам или техническим условиям на эти материалы.
2.2. Фактическая прочность бетона блоков (в проектном возрасте и отпускная) должна соответствовать требуемой, назначаемой по ГОСТ 18105 в зависимости от нормируемой прочности бетона, указанной в проектной документации на здание или сооружение, и от показателя фактической однородности прочности бетона.
(Измененная редакция, Изм. N 1).
2.3. Морозостойкость и водонепроницаемость бетона должны назначаться в проекте в зависимости от режима эксплуатации конструкций и климатических условий района строительства согласно СНиП 2.03.01 - для тяжелого бетона и керамзитобетона и СН 165 - для плотного силикатного бетона.
2.4. Бетон, а также материалы для приготовления бетона блоков, предназначенных для применения в условиях воздействия агрессивной среды, должны удовлетворять требованиям СНиП 2.03.11, а также дополнительным требованиям СН 165 для блоков из плотного силикатного бетона.
2.5. Классы бетона по прочности на сжатие, марки бетона по морозостойкости и водонепроницаемости, а при необходимости и требования к бетону и к материалам для его приготовления (см. п. 2.4), должны соответствовать проектным, указываемым в заказах на изготовление блоков.
2.6. Поставка блоков потребителю должна производиться после достижения бетоном требуемой отпускной прочности (п. 2.2).
2.7. Значение нормируемой отпускной прочности бетона блоков в процентах от класса по прочности на сжатие следует принимать равным:
50 - для тяжелого бетона и керамзитобетона класса В 12,5 и выше;
70 - для тяжелого бетона класса В 10 и ниже;
80 - " керамзитобетона " В 10 " " ;
100 - для плотного силикатного бетона.
При поставке блоков в холодный период года допускается повышать значение нормируемой отпускной прочности бетона в процентах от класса по прочности на сжатие, но не более;
70 - для бетона класса В 12,5 и выше;
90 - " " " В 10 и ниже.
Значение нормируемой отпускной прочности бетона следует принимать по проектной документации на конкретное здание или сооружение в соответствии с требованиями ГОСТ 13015.0.
Поставку блоков с отпускной прочностью бетона ниже прочности, соответствующей его классу по прочности на сжатие, производят при условии, если изготовитель гарантирует достижение бетоном блоков требуемой прочности в проектном возрасте, определяемой по результатам испытания контрольных образцов, изготовленных из бетонной смеси рабочего состава и хранившихся в условиях согласно ГОСТ 18105.
2.5 - 2.7. (Измененная редакция, Изм. N 1).
2.8. При отпуске блоков потребителю влажность керамзитобетона не должна быть более 12 %.
2.9. Монтажные петли блоков должны изготовляться из стержневой горячекатаной арматуры гладкой класса А-I марок ВСт3пс2 и ВСт3сп2 или периодического профиля Аc-II, марки 10ГТ по ГОСТ 5781.
Арматуру из стали марки ВСт3пс2 не допускается применять для монтажных петель, предназначенных для подъема и монтажа блоков при температуре ниже минус 40° С.
2.10. Отклонения в мм проектных размеров блоков не должны превышать:
-
по длине ...................................................
13 -
-
по ширине и высоте ...........................................
8 -
-
по размерам вырезов ..........................................
5 -
-
2.11. Отклонение от прямолинейности профиля поверхностей блока не должно превышать 3 мм на всю длину и ширину блока.
2.12. Устанавливают следующие категории бетонной поверхности блоков:
А3 - лицевой, предназначенной под окраску;
А5 - лицевой, предназначенной под отделку керамическими плитками,укладываемыми по слою раствора;
А6 - лицевой, неотделываемой;
А7 - нелицевой, не видимой в условиях эксплуатации.
Требования к качеству поверхностей блоков - по ГОСТ 13015.0.
(Измененная редакция, Изм. N 1).
2.13. (Исключен, Изм. N 1).
2.14. В бетоне блоков, принимаемых согласно разд. 3, не допускаются трещины, за исключеснием местных поверхностных усадочных, ширина которых не должна превышать 0,1 мм в блоках из тяжелого и плотного силикатного бетона и 0,2 мм в блоках из керамзитобетона.
2.15. Монтажные петли должны быть очищены от наплавов бетона.
3. ПРАВИЛА ПРИЕМКИ
3.1. Приемку блоков следует проводить партиями в соответствии с требованиями ГОСТ 13015.1 и настоящего стандарта.
3.2. Приемку блоков по морозостойкости и водонепроницаемости бетона, отпускной влажности керамзитобетона, а также по водопоглощению бетона блоков, предназначенных для эксплуатации в среде с агрессивной степенью воздействия, следует проводить по результатам периодических испытаний.
3.3. Испытания бетона на водонепроницаемость и водопоглощение блоков, к которым предъявляют эти требования, следует проводить не реже одного раза в три месяца.
3.4. Отпускную влажность керамзитобетона следует контролировать не реже одного раза в месяц по результатам испытания проб, отобранных из трех готовых блоков.
Оценку фактической отпускной влажности следует проводить по результатам проверки каждого контролируемого блока по среднему значению влажности отобранных из него проб.
3.5. Приемку блоков по показателям прочности бетона (классу бетона по прочности на сжатие и отпускной прочности), соответствия монтажных петель требованиям настоящего стандарта, точности геометрических параметров, ширины раскрытия технологических трещин и категории бетонной поверхности блоков следует проводить по результатам приемо-сдаточных испытаний.
3.6. Приемку блоков по показателям точности геометрических параметров, категории бетонной поверхности и ширины раскрытия технологических трещин следует осуществлять по результатам одноступенчатого выборочного контроля.
3.7. Приемку блоков по наличию монтажных петель, правильности нанесения маркировочных надписей и знаков следует проводить путем сплошного контроля с отрбраковкой блоков, имеющих дефекты по указанным показателям.
Разд. 3. (Измененная редакция, Изм. N 1).
4. МЕТОДЫ КОНТРОЛЯ И ИСПЫТАНИЙ
4.1. Прочность бетона на сжатие следует определять по ГОСТ 10180 на серии образцов, изготовленных из бетонной смеси рабочего состава и хранившихся в условиях, установленных ГОСТ 18105.
При испытании блоков неразрушающими методами фактическую отпускную прочность бетона на сжатие следует определять ультразвуковым методом по ГОСТ 17624 или приборами механического действия по ГОСТ 22690, а также другими методами, предусмотренными стандартами на методы испытания бетона.
(Измененная редакция, Изм. N 1).
4.2. (Исключен, Изм. N 1).
4.3. Марка бетона по морозостойкости должна контролироваться в соответствии с ГОСТ 10060.
4.4. Водонепроницаемость бетона блоков следует определять по ГОСТ 12730.0 и ГОСТ 12730.5 на серии образцов, изготовленных из бетонной смеси рабочего состава.
(Измененная редакция, Изм. N 1).
4.4.1. (Исключен, Изм. N 1).
4.5. Водопоглощение бетона блоков, предназначенных для применения в условиях воздействия агрессивной среды, следует определять в соответствии с требованиями ГОСТ 12730.0 и ГОСТ 12730.3 на серии образцов, изготовленных из бетонной смеси рабочего состава.
4.6. (Исключен, Изм. N 1).
4.7. Влажность керамзитобетона следует определять по ГОСТ 12730.0 и ГОСТ 12730.2 испытанием проб, отобранных из готовых блоков.
От каждого блока следует отобрать не менее двух проб.
Допускается определять влажность бетона блоков диэлькометрическим методом по ГОСТ 21718.
(Измененная редакция, Изм. N 1).
4.8. Размеры и отклонение от прямолинейности блоков, положение монтажных петель, а также качество поверхностей и внешний вид блоков проверяют по ГОСТ 13015.0.
5. МАРКИРОВКА, ХРАНЕНИЕ И ТРАНСПОРТИРОВАНИЕ
5.1. Маркировка блоков - по ГОСТ 13015.2.
Маркировочные надписи и знаки следует наносить на боковой поверхности блока.
(Измененная редакция, Изм. N 1).
5.2. Блоки должны храниться в штабелях рассортированными по маркам и партиям и уложенными вплотную друг к другу.
Высота штабеля из блоков должна быть не более 2,5 м.
5.3. При хранении и транспортировании каждый блок должен укладываться на деревянные прокладки, расположенные по вертикали одна над другой между рядами блоков.
Подкладки под нижний ряд блоков должны укладываться по плотному, тщательно выровненному основанию.
5.4. Толщина прокладок должна быть не менее 30 мм.
5.5. Транспортирование блоков должно производиться с надежным закреплением, предохраняющим их от смещения.
Высота штабеля при транспортировании устанавливается в зависимости от грузоподъемности транспортных средств и допускаемого габарита погрузки.
5.6. Погрузка, транспортирование, разгрузка и хранение блоков должны производиться с соблюдением мер, исключающих возможность их повреждения.
5.7. Требования к документу о качестве блоков, поставляемых потребителю, - по ГОСТ 13015.3.
Дополнительно в документе о качестве блоков должны быть приведены марки бетона по морозостойкости и водонепроницаемости, а также водопоглощение бетона (если эти показатели оговорены в заказе на изготовление блоков).
(Измененная редакция, Изм. N 1).
6. ГАРАНТИИ ИЗГОТОВИТЕЛЯ
6.1. Изготовитель должен гарантировать соответствие поставляемых блоков требованиям настоящего стандарта при соблюдении потребителем правил транспортирования, условий применения и хранения блоков, установленных стандартом.
ПРИЛОЖЕНИЕ
Обязательное
МОНТАЖНЫЕ ПЕТЛИ


Спецификация и выборка стали на одну монтажную петлю
|
|
|
|
|
|
|
|
|
|
|
|
|
|
|
|
|
|
|
Текст документа сверен по:
официальное издание
М.: Издательство стандартов, 1994
